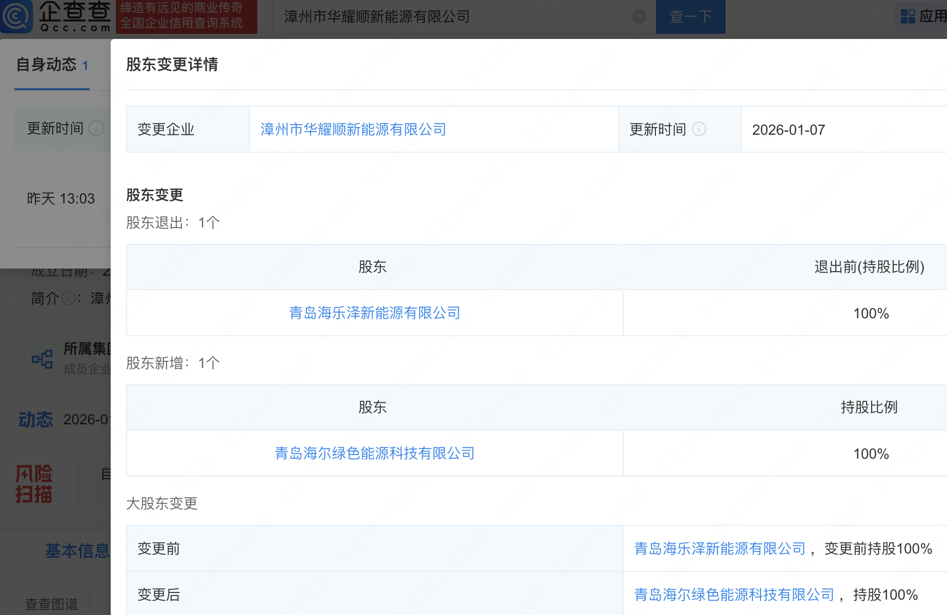
企查查APP显示,近日,漳州市华耀顺新能源有限公司发生工商变更,原股东青岛海乐泽新能源有限公司退出,新增海尔新能源科技股份有限公司全资子公司青岛海尔绿色能源科技有限公司为全资股东。企查查信息显示,近期,四川海乐汇新能源科技有限公司、徐州海乐顺新能源有限公司、云南海启顺新能源有限公司等多家公司陆续发生工商变更,均由青岛海尔绿色能源科技有限公司接盘100%股权。


免责声明:所有平台仅提供服务对接功能,资讯信息、数据资料来源于第三方,其中发布的文章、视频、数据仅代表内容发布者个人的观点,并不代表泡财经平台的观点,不构成任何投资建议,仅供参考,用户需独立做出投资决策,自行承担因信赖或使用第三方信息而导致的任何损失。投资有风险,入市需谨慎。

迁址公告
古东管家APP
关于我们
请先登录后发表评论