4月21日,宁德时代(300750)在其超级科技日上,发布了麒麟凝聚态电池新品,据悉,搭载该电池的电动车续航可达1500公里。
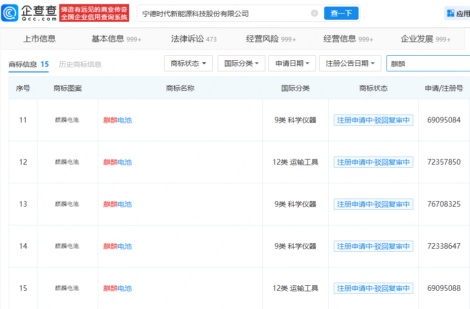
企查查APP显示,宁德时代已申请注册多枚“麒麟”、“麒麟电池”、“时代麒麟”商标,国际分类包括运输工具、科学仪器等。


免责声明:所有平台仅提供服务对接功能,资讯信息、数据资料来源于第三方,其中发布的文章、视频、数据仅代表内容发布者个人的观点,并不代表泡财经平台的观点,不构成任何投资建议,仅供参考,用户需独立做出投资决策,自行承担因信赖或使用第三方信息而导致的任何损失。投资有风险,入市需谨慎。

迁址公告
古东管家APP
关于我们
请先登录后发表评论